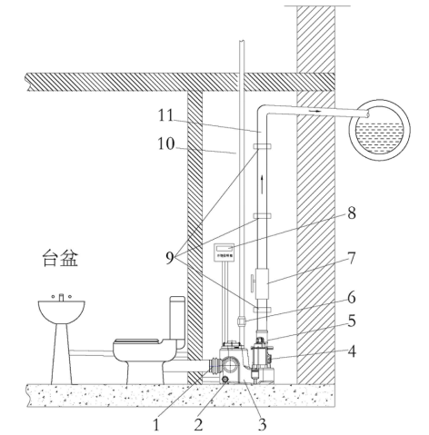
Twslift60S污水提升器为箱泵一体式,水泵干式安装,采用涡流式叶轮,箱体采用耐腐性PE材质,设备小巧、安装方便,可满足多个方位的进水安装需求,设备含有2个顶部De110进水口,3个侧面De110接口,2个侧面De50接口,设备出水口径为DN80,通气口径为De50。
设备主要特性
一体化装置,外置单电机 涡流式无阻塞叶轮
标称容积60L 耐腐蚀PE材质
结构紧凑,安装方便 智能型专业控制单元
Qmax=20m³/H Hmax=13.7m
气压/浮球双控液位 可拆卸铸铁止回阀
介质温度:≤40° pH:6-8
整机防护等级(控制箱除外):IP68
技术参数:


配置清单:











扫一扫